限价的隐忧:房企利润空间压缩 房屋质量咋保证?
扫描到手机,新闻随时看
扫一扫,用手机看文章
更加方便分享给朋友
限价的隐忧:
房企利润空间压缩,房屋质量咋保证?

据统计,此次北京集中成交的29宗地块线上累计竞价212次,平均每宗地块线上竞价7次;现场25宗地块累计竞拍803次,平均每宗地块竞拍32次。整体来看,29宗地块中,22宗地触及地价上限,占比达76%。

数据来源:中指研究院监测整理
事实上,在如此激烈的争夺下,根据此次竞拍规则,很多地块能够为企业带来的收益是能够直接计算的。
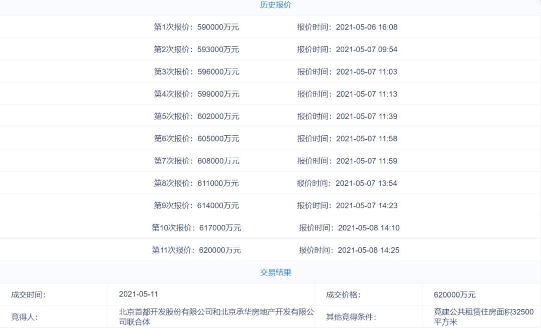
以丰台区长辛店镇张郭庄村A区FT00-0203-6145、FT00-0203- 6159地块为例,该地块的较高限价为6.8万元/平方米,建筑控制规模不大于171120.713平方米。
如果刨去公共租赁住房和要求配建的养老和社区文化设施等,还剩余130823.131平方米可以建设供出售的商品房,以较高限价计,首开和先进联合体共可以收回约89亿元。
加之政府回收的8000元/平方米的公共租赁租房,也可提供2.6亿元的回款。两项相加,减去地价62亿元,也就是说首开和先进联合体需要在29.6亿元中寻求建安成本、银行利息、企业税金等成本,之后才能是企业利润。

丰台区长辛店镇张郭庄村地块报价和成交情况
来源:北京市规划和自然资源委员会官网
如果按照业内“楼面价占售价2/3则可持平”的说法来看,该地块4.5万元/平方米的楼面价相较于6.8万元/平方米的售价可以说是刚刚持平。如果算上公共租赁住房的情况,对开发商而言可以说是捉襟见肘。
另一个真相是,即使已经看上去很低的土地出让金,其实已经是起拍价上调后的结果了。
距离该地块不远处,是曾在2019年12月成功出让的丰台长辛店镇辛庄村A-46地块,当时被首开和保利联合体以26亿元的底价获得,楼面价为31666元/平方米。仅仅过了一年多,和其相近的地块楼面价便上涨至4.5万/平方米,而且还没有考虑配建公租房的情况。
通过比较可知,该区域的土地价格的确是上涨了,但另一方面,房企的利润也被进一步被限制了。
企业自然是以营利为目的,面对如此情景,压缩成本似乎也成为必然选择。
就如同曾经的限竞房,价格的限制令房企们的利润腾挪空间缩小,因而质量问题便随之出现。《每日经济新闻》此前曾经报道过北京不少关于限竞房的质量事件,如瀛海府、悦风华等项目,诸如建筑简配、配套缩水、材料劣质等问题层出不穷。

每经去年曾经报道过的瀛海府项目
图片来源:每经记者 王佳飞 摄
一位购房者曾经向《每日经济新闻》记者这样表示对房屋质量问题的担忧:“我买房子最看重的是品牌口碑,我真的不想因为质量问题上大街维权。”
中原地产首席市场分析师张大伟在分析限竞房质量问题时曾表示,企业无利可图,给限竞房项目留下不小的质量隐患。在房价上涨阶段,购房者买得越早赚得可能越多,即使出现质量瑕疵也不会十分计较。但现在不同了,限竞房价格并没有上涨,反而下跌了,这时如果房屋再出现质量问题,会引发购房者反弹,小问题也会变成大矛盾。
为此,2019年北京市住建委特意“为着力解决当前我市住宅工程中群众反映的突出质量问题”,进而“严厉打击各类违法违规行为,全面提升住宅工程质量和建设品质,切实维护人民群众生命和财产安全,市住房城乡建设委决定开展为期一年的住宅工程质量提升专项行动”。
质量问题还可能引发连锁反应。一些楼盘的先期项目因为质量问题而引发业主的维权行为,随后又因为滞销降价进一步引发老业主的不满,质量问题和被降价的心理作用叠加,使得业主的维权行为频发。
目前来看,本次北京集中供应的不少地块的情况,和限竞房太过相像了。
(应受访者要求,文中杨帆、李慕、段彻、刘芳、邓群均为化名)

记者手记丨适应新规则,才能笑到最后
“双集中”供地新规的落地实施,让土地市场风向突变。
尽管头部房企表面上呼喊“这是属于我们的时代”,但私下依然对“利润只有1%~2%”而无比担忧。在各城的首批集中土拍场上,房企们仍然对“万一晚了一秒钟举牌而痛失一块地”而胆战心惊。
毕竟,土地市场的游戏规则变了,房企在22个重点城市一年只有三次拿地机会,且对资金的要求进一步提高。这也导致了各城市的首轮土拍显得异常火爆:上百个马甲参战、动辄数百轮举牌、高溢价率地块频出……
但不能忽略的是,集中供地新规之下,各城的供地规则也存在差异,不同梯级房企拿地的策略亦随之发生改变。
以北京为例,在本批次集中土拍中,各种溢价空间限定、土地价格上限规定、竞政府共有自持等“规则”,使得开发商的利润空间进一步被压缩。
在此背景下,有着央企国企背景的房企和头部房企,在集中供地大战中充分展示了财大气粗的实力;不少中型房企则组成联合体,“抱团”拿地;小房企同样没有放弃,伺机捡漏获取小地块或远郊地块。
毕竟,有了“面粉”,才能生产“面包”。但只有熟悉并迅速适应新规则的企业,才可能笑到最后。
记者:王佳飞 陈梦妤
房企利润空间压缩,房屋质量咋保证?

据统计,此次北京集中成交的29宗地块线上累计竞价212次,平均每宗地块线上竞价7次;现场25宗地块累计竞拍803次,平均每宗地块竞拍32次。整体来看,29宗地块中,22宗地触及地价上限,占比达76%。

数据来源:中指研究院监测整理
事实上,在如此激烈的争夺下,根据此次竞拍规则,很多地块能够为企业带来的收益是能够直接计算的。
以丰台区长辛店镇张郭庄村A区FT00-0203-6145、FT00-0203- 6159地块为例,该地块的较高限价为6.8万元/平方米,建筑控制规模不大于171120.713平方米。
如果刨去公共租赁住房和要求配建的养老和社区文化设施等,还剩余130823.131平方米可以建设供出售的商品房,以较高限价计,首开和先进联合体共可以收回约89亿元。
加之政府回收的8000元/平方米的公共租赁租房,也可提供2.6亿元的回款。两项相加,减去地价62亿元,也就是说首开和先进联合体需要在29.6亿元中寻求建安成本、银行利息、企业税金等成本,之后才能是企业利润。

丰台区长辛店镇张郭庄村地块报价和成交情况
来源:北京市规划和自然资源委员会官网
如果按照业内“楼面价占售价2/3则可持平”的说法来看,该地块4.5万元/平方米的楼面价相较于6.8万元/平方米的售价可以说是刚刚持平。如果算上公共租赁住房的情况,对开发商而言可以说是捉襟见肘。
另一个真相是,即使已经看上去很低的土地出让金,其实已经是起拍价上调后的结果了。
距离该地块不远处,是曾在2019年12月成功出让的丰台长辛店镇辛庄村A-46地块,当时被首开和保利联合体以26亿元的底价获得,楼面价为31666元/平方米。仅仅过了一年多,和其相近的地块楼面价便上涨至4.5万/平方米,而且还没有考虑配建公租房的情况。
通过比较可知,该区域的土地价格的确是上涨了,但另一方面,房企的利润也被进一步被限制了。
企业自然是以营利为目的,面对如此情景,压缩成本似乎也成为必然选择。
就如同曾经的限竞房,价格的限制令房企们的利润腾挪空间缩小,因而质量问题便随之出现。《每日经济新闻》此前曾经报道过北京不少关于限竞房的质量事件,如瀛海府、悦风华等项目,诸如建筑简配、配套缩水、材料劣质等问题层出不穷。

每经去年曾经报道过的瀛海府项目
图片来源:每经记者 王佳飞 摄
一位购房者曾经向《每日经济新闻》记者这样表示对房屋质量问题的担忧:“我买房子最看重的是品牌口碑,我真的不想因为质量问题上大街维权。”
中原地产首席市场分析师张大伟在分析限竞房质量问题时曾表示,企业无利可图,给限竞房项目留下不小的质量隐患。在房价上涨阶段,购房者买得越早赚得可能越多,即使出现质量瑕疵也不会十分计较。但现在不同了,限竞房价格并没有上涨,反而下跌了,这时如果房屋再出现质量问题,会引发购房者反弹,小问题也会变成大矛盾。
为此,2019年北京市住建委特意“为着力解决当前我市住宅工程中群众反映的突出质量问题”,进而“严厉打击各类违法违规行为,全面提升住宅工程质量和建设品质,切实维护人民群众生命和财产安全,市住房城乡建设委决定开展为期一年的住宅工程质量提升专项行动”。
质量问题还可能引发连锁反应。一些楼盘的先期项目因为质量问题而引发业主的维权行为,随后又因为滞销降价进一步引发老业主的不满,质量问题和被降价的心理作用叠加,使得业主的维权行为频发。
目前来看,本次北京集中供应的不少地块的情况,和限竞房太过相像了。
(应受访者要求,文中杨帆、李慕、段彻、刘芳、邓群均为化名)

记者手记丨适应新规则,才能笑到最后
“双集中”供地新规的落地实施,让土地市场风向突变。
尽管头部房企表面上呼喊“这是属于我们的时代”,但私下依然对“利润只有1%~2%”而无比担忧。在各城的首批集中土拍场上,房企们仍然对“万一晚了一秒钟举牌而痛失一块地”而胆战心惊。
毕竟,土地市场的游戏规则变了,房企在22个重点城市一年只有三次拿地机会,且对资金的要求进一步提高。这也导致了各城市的首轮土拍显得异常火爆:上百个马甲参战、动辄数百轮举牌、高溢价率地块频出……
但不能忽略的是,集中供地新规之下,各城的供地规则也存在差异,不同梯级房企拿地的策略亦随之发生改变。
以北京为例,在本批次集中土拍中,各种溢价空间限定、土地价格上限规定、竞政府共有自持等“规则”,使得开发商的利润空间进一步被压缩。
在此背景下,有着央企国企背景的房企和头部房企,在集中供地大战中充分展示了财大气粗的实力;不少中型房企则组成联合体,“抱团”拿地;小房企同样没有放弃,伺机捡漏获取小地块或远郊地块。
毕竟,有了“面粉”,才能生产“面包”。但只有熟悉并迅速适应新规则的企业,才可能笑到最后。
声明:本文由入驻焦点开放平台的作者撰写,除焦点官方账号外,观点仅代表作者本人,不代表焦点立场。
